Build a Filter Clamp: Projects

Plate filtration systems are popular among home winemakers. These systems use disposable filter plates with a filter selectivity that usually ranges from 0.5–6.0 microns. The filter plates must be changed every so often, a tedious chore that involves removing several wing bolts, six in the case of the popular Ferrari-style filter, to replace the filters. Fortunately, there’s an easy solution that will allows you to change filter pads more quickly and with less effort — the clamp.
After experimenting with various contraptions that would speed the process of filter changing, I have developed a simple clamp system. In my system, the bolts are removed from your plate filter and the entire unit is clamped between two boards, which hold it snugly in place. The following plans are based on a system that I have used with great success. To build this clamp, you will need to obtain the following materials:
- Two 12 by 12 by 5/8-inch pressed boards. (For best results use a board that will not easily absorb liquids.)
- Three 5-inch by 3/8-inch carriage bolts
- Two 3/8-inch regular nuts
- Three 3/8-inch flat washers
- Three 3/8-inch wing nuts (Cadmium-plated or stainless-steel hardware preferred).

To Build the Clamp:
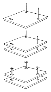
- Drill 4 holes, 7/16 inches in diameter, as shown.
- Cut a 7/16 inch slot between the two closest holes (shown on the bottom of the diagram at left).
- Pass a bolt through the two round holes and secure with the two regular nuts, as shown in part one of the diagram at right. Tighten with a wrench until the bolt head is pulled in flush with the plate. Slide the remaining plate over the two bolts, as shown in part two of the diagram. Place a washer and wing nut on each bolt, turning the wing nut to about 1/2-inch down each bolt. Pass the third bolt up through the slot and add remaining washer and wing nut as shown in part three of the diagram.

To Use the Clamp:
Place your filter pads in your plate filtration unit as usual. Instead of securing the filter pads with its wing nuts, insert the entire filter assembly between the boards of the clamp with the sliding bolt moved towards the outer edge. With the filter plates pushed firmly against the two inside rear nuts, place the sliding bolt against the filter plate. Put one hand on top of the clamp and maintain an even pressure on the filter assembly. Finger tighten the three wing nuts by turning them in a clockwise fashion.
As recommended by the filter manufacturers, pass about two gallons of water through the plates before filtering your wine. Check that the wing nuts are still finger tight after this process and that water is not leaking from the assembly. To remove the filter plate assembly it is only necessary to slacken the wing nuts and move the sliding bolt towards the outer edge.

